来自:PConline 2018年07月07日 点击量:1234
继昨日泄露出折叠屏手机专利后,外媒GSMArena再次传出令人兴奋不已的消息:LG正在为智能手写笔申请专利,该笔有望替代手机。

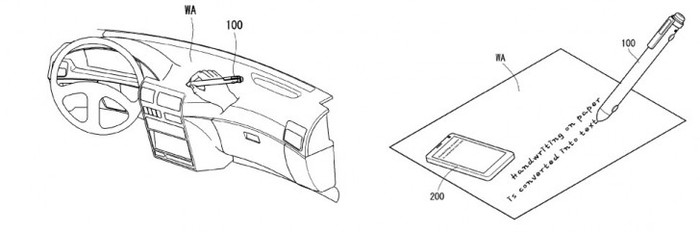
和目前我们已知的智能手写笔不同,LG的智能手写笔专利可谓颠覆了传统消费者对手写笔的印象。在手写笔领域,我们已知做得最好的应该是三星的S Pen系统,苹果的Apple Pencil,他们都需要与指定的设备搭配才能使用,但LG这次的专利却将手写笔完整做成一个设备。手写笔分为两块屏幕,一块小的屏幕用于程序快捷方式、时间、和信息通知等;而另外一块屏幕才是这支智能手写笔的精髓所在,它是一个可以拉伸的显示屏,当我们需要时按动专用按钮将其拉伸,你可以将它用作传统的智能手机,它可以运行所有常规的应用程序,包括浏览网页和发送消息。

除了显示外,传统智能手机的传感器这支笔也是无一缺席:螺旋仪、电子罗盘、距离传感器、压力传感器、相机,连目前最成熟的指纹识别模块在该笔也没落下,而具备麦克风和听筒让其成为一个完整的手机成为了可能。
除了具有完整的手机装备外,该机还能和其他任何品牌智能手机、平板电脑进行配对。在配对完成后,使用该智能笔在任何表面上书写的痕迹都能出现在配对设备的屏幕上,将以前的纸笔墨和智能在屏幕上书写的习惯彻底颠覆。
OPPO OPPO Find X6 Pro 5G拍照手机 16GB 256GB 云墨黑
¥6499.00
OPPO OPPO Find X5 Pro 全新骁龙8 12GB 512GB 黑釉
¥6799.00
苹果 苹果 iPhone 14 全网通5G 双卡双待手机 特别请注意线上优惠不与店内优惠叠加使用 256GB存储 午夜色
¥6899.00
荣耀 Magic3 Pro 骁龙888Plus 6.76英寸超曲屏 多主摄计算摄影 66W有线50W无线双 8GB 256GB 亮黑色 5G全网通
¥5999.00
华为 华为 Mate40E 8GB 128GB 亮黑色
¥5599.00
三星 三星SAMSUNG Galaxy S23+ 全网通5G手机 8GB 256GB 悠远黑
¥6999.00
荣耀 荣耀 畅玩20 6GB 128GB 极光蓝
¥945.00
苹果 苹果 iPhone 14 全网通5G 双卡双待手机 特别请注意线上优惠不与店内优惠叠加使用 256GB存储 紫色
¥6899.00
OPPO OPPO A55 5G 6GB 128GB 轻快蓝
¥1449.00
vivo X21i 4G全网通 全面屏 拍照手机 6GB 64GB 宝石红 4G全网通
6.28英寸全面屏 AI逆光美颜2400w高清自拍!
¥2398.00
vivo Y97 4+128GB 全网通4G 双卡水滴屏全面屏手机 AI智慧双摄 星夜黑
6.3英寸水滴全面屏,128GB海量空间,面部识别,1600万AI智慧双摄,渐变时尚配色
¥1798.00
OPPO realme 真我V11 5G手机 5000mAH大电池 8.4mm轻薄 4GB 128GB 静谧灰 5G全网通
5000mAH大电池 | 8.4mm轻薄机身 | 18W闪充
¥1199.00
小米 小米6 6GB 64GB 亮黑色 4G全网通
小米七年工艺梦幻之作!与iPhone7一致的长焦双摄!
¥2599.00
华为 mate10保时捷设计 6GB 256GB 钻石黑 4G全网通
搭载人工智能芯片,卓越性能,强劲续航
¥6288.00
OPPO OPPO Reno5K 12GB 256GB 星河入梦
6400 万水光人像四摄 65W超级闪充 全网通手机
¥2099.00
vivo Y85A 4GB 64GB 黑金色 4G全网通
¥1778.00
荣耀 荣耀V40轻奢版 5G 8GB 128GB 钛空银 5G全网通
轻薄超曲屏幕 10亿色彩显示 66W超级快充 6400万超清四摄 3200万美颜自拍
¥2999.00
三星 Galaxy Z Flip SM-F7000 8GB 256GB 塞博格黑 5G全网通
三星折叠屏手机,预售机型,到货按订单顺序发货
¥13999.00
华为 华为NZONE S7Pro 5G手机 8GB 128GB 优雅黑 5G全网通
此机型是华为代工生产,外包装写的是NZONE S7Pro
¥2099.00
vivo X23 幻彩版 双卡水滴屏全面屏手机 6GB 128GB 星夜海洋 4G全网通
¥2798.00
网友评论(查看全部 0 条评论)
共有0条评论,点击查看全部 >